Б.Ю.Семенов, г.Санкт-Петербург
    |  | 
    | Пусть маленький... но все равно приятно...
 | 
Печатная плата замка на микросхемах серии К155.
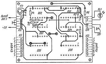
На рисунке показан чертеж печатной платы замка, разработанной читателем Б.Семеновым из Санкт-Петербурга для кодового замка с однокнопочным управлением В.Баранова ("Радио" 1991 №12). На ней размещены все детали, кроме транзистора VT2, реле К1, диода VD1, резисторов R7, R8, светодиода HL1 и кнопки SB1. Концентрическими окружностями на стороне деталей обозначены отверстия, в которые при монтаже вставляют проволочные перемычки, соединяющие печатные проводники на разных сторонах платы. Для удобства прокладки проводников в качестве обозначенного на схеме элемента DD2.1 использован элемент с выводами 8,9 и 10, в качестве DD2.2 и DD2.3 - соответственно элементы с выводами 11, 12, 13 и 1, 2, 3.
С целью облегчения соединения платы с остальными деталями замка, источником питания и проводами установки кода применены две пятиконтактные (XS1, XS3) и две восьмиконтактные (XS2, XS4) розетки ОНп-КГ-26 (средний контакт розетки XS4 удален). Блокировочные конденсаторы емкостью 0,022…0,068 мкФ (КМ-6) припаивают непосредственно к выводам питания микросхем со стороны платы, обратной стороне деталей.
    |  |  | 
    | Печатная плата замка |